В статье рассмотрим виды деформаций зданий, их причины и конструктивные способы им противостоять. А также проведём обзор некоторых маркетинговых утверждений производителей строительных материалов.
В качестве теоретической основы для статьи использовался учебник Б.И. Далматова.
Далматов выделяет следующие виды деформаций зданий и сооружений:

Рис. 1. Виды деформации зданий и сооружений.
Прогиб и выгиб (рис. а-б) возникают у зданий, не обладающих высокой изгибной жесткостью. Перекос (сдвиг, рис. в-г) происходит когда имеется резкая неравномерность осадки фундамента на относительно небольшом участке при низкой сдвиговой жесткости здания.
Крен (рис. д-е) также возникает при резкой неравномерности осадки фундамента, например при неравномерности нагрузки, но при этом здание обладает высокой сдвиговой и изгибной жесткостью и кренится, сохраняя свою форму, без образования трещин.
Скручивание (рис. ж) - это неравномерный крен относительно протяжённого здания, в результате чего возникают довольно сложные деформации.
Неравномерная осадка и вызванная ею деформация зданий складывается из следующих составляющих:
- Осадка дополнительного уплотнения грунта, вызванная нагрузкой от здания;
- Осадка разуплотнения - при снятии верхней части грунта уменьшается нагрузка на нижележащих слоях грунта, которые в силу упругих свойств немного релаксируют и разуплотняются. При последующем нагружении эти слои грунта снова сжимаются, а это сжатие приводит к небольшой осадке.
- Осадка выдавливания - свойственна грунтам, проявляющим текучие свойства, когда под нагрузкой часть грунта из под подошвы фундамента выдавливается по бокам.
- Осадка, связанная с нарушением структуры грунта. Например, у просадочных грунтов.
- Осадка эксплуатационная, например, вызванная прорывом трубопровода и подмыванием части грунта.
- Подъём и осадка грунта в следствии воздействия сил морозного пучения грунта.
Кроме этого, надо учитывать, что все грунты основания характеризуются неравномерностью распределения напряжения под фундаментом здания. Например, эпюры напряжений могут иметь вот такой вид:

Рис. 2. Эпюры напряжений в грунте основания под зданием.
Такая неравномерность приводит к возникновению дополнительных изгибающих усилий в конструкциях зданий, которые могут привести к образованию и развитию деформаций и трещин.
Более жесткие здания, имеющие конструкции или вставки повышенной жесткости, способны противостоять таким неравномерным осадкам, выравнивая их через уменьшение давления по подошве фундамента в местах, где основание испытывает значительные нагрузки, перераспределяя на менее нагруженные участки. Поскольку кладка стен зданий, возводимых из кирпича или блоков, плохо сопротивляется усилиям растяжения, изгиба и сдвига, то наиболее уместным технологическим решением увеличения такой жесткости становятся арматурные пояса:

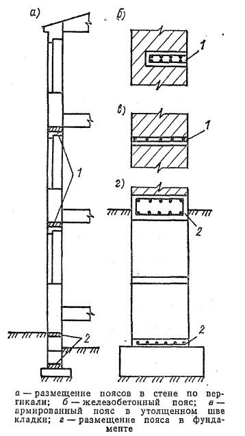
Рис. 3. Виды арматурных поясов и варианты их размещения.
Конструктивно можно выделить два вида армопоясов - плоские (армошов, когда арматура закладывается в растворный кладочный шов между слоями кирпича или блоков) и объёмные, когда в нём имеются, как минимум, два уровня армирования и поперечная арматура в виде хомутов, воспринимающая усилия сдвига и среза.
При этом плоские пояса работают на изгибающие деформации - это а-б по рис.1, а объёмные пояса кроме изгибающих усилий способны воспринимать сдвиговые по в-г рис.1. В этом случае по отношению к армопоясу возникают нормальные усилия, которые воспринимаются бетоном и поперечным армированием пояса:

Рис. 4. Разрушение железобетонного пояса от нормально приложенной силы (при деформации сдвига) и восприятие этих усилий поперечной арматурой (хомутами).
В связи с этим рекомендуется в конструкции здания применять армопояса или железобетонные элементы, способные воспринимать как изгибные усилия, так и сдвиговые (см. рис. 3 ).
При этом, для восприятия деформаций прогиба армопояс должен находиться в нижней части здания, а выгиба - в верхней:

Рис. 5. Области расположения армопоясов (красная линия) для восприятия прогиба и выгиба.
Рассмотрим также рекомендации некоторых производителей керамических блоков, которые рекомендуют в достаточно жесткой форме не делать армопояса при использовании их продукции:

Рис. 6. Рекомендации производителя.
Такой комментарий размещён на официальном youtube-канале одного из производителя керамических блоков. Аналогичные указания содержатся в альбомах технических решений не только этого, но и иных производителей, где утверждается, что для опирания перекрытия нет необходимости в организации железобетонных армопоясов.
Обоснование, которое приводится в рекламном ролике, приводится такое, что прочности блоков достаточно для восприятия усилий, возникающих в опорной зоне кладки. Речь идёт про вот это:

Рис. 7. Схема расчёта напряжений в кладке в зоне опирания перекрытия.
Т.е. речь идёт только про прочность кладки в зоне опирания, без учёта конструктивных решений для восприятия неравномерных осадок, без учёта иных факторов (например, восприятия распорных усилий от стропильной системы).
Мягко говоря, производитель вводит в заблуждение потребителей своей продукции, позволяя себе такие категоричные утверждения, без акцента на то, что такое решение не является панацеей от всех негативных факторов, которые могут привести к повреждению или разрушению здания.
При этом сказать, что такие заявления производителей керамики не соответствуют действительности, нельзя, поскольку даются пояснения, что пояс не требуется потому, что прочности керамоблоков достаточно для восприятия нагрузки от перекрытия. А в остальном застройщику и проектировщику необходимо руководствоваться действующей нормативной документацией, где как раз и учитываются все остальные факторы. Скорее всего, это такой маркетинговый ход, чтобы дифференцироваться от остальных стеновых материалов, утверждая, что такой чудесный материал не нуждается в применении армопоясов.
m_project33